Vous pouvez vous aussi nous faire parvenir vos tutoriaux par email en renvoyant votre fichier sous format word à



Accueil Tutoriel


Trier par :       


Fabrication Gicleur variable


Vignette
mise à jour le Le 01-10-2008 par solexgump | Vu 22961

Applications possible : Vignette Vignette      

Comment réaliser un glicleur réglable pour Solex

1-Matériel.

(M1) Une DREMEL
(M2) Un foret de 1.4 mm de diamètre HSS.
(M3) Un foret de 1.3 mm de diamètre HSS.
(M4) Un taraud M4 + un tourne à gauche
(M5) Une fraise boule HSS de 3 mm de diamètre.
(M6) Un paquet de clous de 1.3 mm de diamètre
(M7) Un papillon taraudé à M4
(M8) Un morceau de tige fileté M4 de 32 mm de long
(M9) Une perceuse.
(M10) Un étau pour bloquer la perceuse.
(M11) Un petit marteau.
(M12) Une rondelle à dents chevauchantes pour vis M4.
(M13) Un ressort de compression de 18 mm de long, diamètre extérieur 5.8 mm, diamètre de fil 0.8 mm
(M14) Un morceau de tube transparent diamètre intérieur 6 mm, diamètre extérieur 3 mm, longueur 3 mm.
(M15) Un gros cutter.
(M16) Un marbre.
(M17) Une feuille de papier à poncer à l’eau, grain 240.
(M18) Une lime de taille moyenne, douce, section rectangulaire.
(M19) Une pince coupante



2-Etapes d’usinage.

OP10 : Percer le gicleur avec la DREMEL (M1) équipé d’un foret de Ø1.4 mm (M2).

Le foret doit être parfaitement coaxial et concentrique par rapport au gicleur.



OP20 : Pousser la bille d’obturation du gicleur avec un clou Ø 1.3 mm (M6) et un petit marteau (M11).



OP30 : Aléser le gicleur avec la fraise boule Ø 3 mm (M5) et la DREMEL (M1).



OP40 : tarauder le gicleur avec le taraud M4 et le tourne à gauche (M4).



OP50 : Poncer la tête du gicleur avec un marbre (M16) et du papier à poncer à l’eau (grain 240) (M17) afin de supprimer toutes les inscriptions.



OP60 : Nettoyer le gicleur avec de l’essence.

OP70 : Visser le papillon (M7) sur la tige fileté (M8)



OP80 : Percer le papillon de part en part avec la DREMEL (M1) et le foret Ø1.3 mm (M3).



OP90 : Dévisser le papillon de la tige fileté.

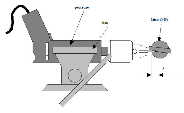
OP100 : Installer la perceuse (M9) dans l’étau (M10).



OP110 : Installer la tige fileté M4 (M4) dans le mandrin de la perceuse (M9).



OP120 : Faire tourner la perceuse (M9) à mi régime et bloquer la vitesse.

OP130 : Usiner l’aiguille (phase1) avec la lime M18. Réduire le diamètre de la tige fileté à Ø2 mm



OP140 : Usiner l’aiguille (phase2) avec la lime M18. Réaliser la pointe.



OP150 : Retirer l’aiguille du mandrin de la perceuse.

OP160 : Visser le papillon sur l’aiguille de telle façon à ce que le trou percé dans le papillon et l’aiguille soit concentriques. Voir OP80.

OP170 : Insérer un clou (M6) dans le trou de 1.3 mm et le faire dépasser de part et d’autre du papillon.

OP180 : A l’aide d’une pince coupante (M19), couper le clou au raz du papillon.

OP190 : A l’aide du petit marteau, taper sur une des deux extrémités du clou en vous appuyant sur une pièce métallique :



OP200 : Réaliser le ressort de compression (M13) à l’aide de la pince coupante (M19). Ebavurer les extrémité du ressort.

OP210 : Réaliser le joint d’étanchéité (M14) avec le cutter (M15). Les deux faces de coupe doivent être parallèles.

OP220 : Assembler :